您好,
帐号管理
收藏夹
退出
消息
0
请登录
免费注册
发布订购
English
手机关注
微信号:chinaforklift
关注官方微信
m.chinaforklift.com
手机扫码看新闻
我的办公室
销售
发布产品
管理产品
求购
发布求购
管理求购
添加收藏
关于我们
广告服务
中叉网广告服务
配件网广告服务
属具网广告服务
关键词排名
会员升级
帮助中心
常见问题
买家帮助
卖家帮助
问题反馈
网站导航
资讯
公司
品牌
整机
配件
属具
二手
租赁
采购
展会
视频
招聘
求职
专题
百科
期刊
首页
资讯
公司
品牌
整机
配件
属具
二手
租赁
采购
展会
视频
招聘
求职
专题
百科
期刊
AGV
安全
地图
供应信息
制造商铺
代理商铺
配件商铺
国产叉车
进口叉车
合资叉车
叉车配件
叉车属具
叉车安全
防爆叉车
电动叉车
堆高机
燃料电池
整机品牌
配件品牌
属具品牌
配件商:
资讯
资讯
公司
品牌
整机
配件
属具
采购
展会
视频
专题
百科
期刊
搜索
代理商:
制造商:
您的位置:
首页
>
整机
>
叉车整机
>
仓储叉车
>
托盘搬运车
> 产品详情
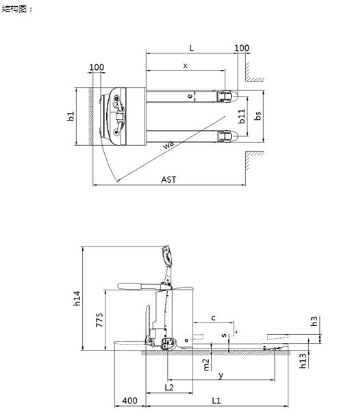
SL系列全电动托盘搬运车SL20
最小起订:
1
有效期至:
长期有效
更新时间:
2015-08-26 14:24
立即询价
加入收藏
普通商家
浙江上加机械有限公司
经营模式:
叉车及物流搬运设备制造商
地区:
中国浙江省湖州市
电话:
400-019-0081
进入店铺
联系方式
分享到:
热门推荐
宁波如意 行走式电动托盘车 CBD20KD
台勵福引擎式系列2吨柴油堆高機 FD20
天宇:越野 A 电动托盘搬运车(冠军版)
斗山山猫:2-3.2吨四轮电动叉车-7系列
无锡大隆:CPDSF平衡重电动堆垛车
科朗平衡重式叉车RC 5500 系列 RC 5500 系列
企业推荐产品
更多>
HIW系列固定电动平台
Q系列前移式电瓶叉车
E系列坐驾平衡重式叉车
CL系列全电动堆垛车(3节门架)
CL系列经济型全电动堆高车CL1030J
DF系列手动液压托盘搬运车
SL系列全电动托盘搬运车SL20
SPN系列半电动托盘堆垛车
产品详情
产品参数
产品图片